高压变频装置在云浮电厂送风机上的应用
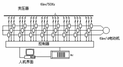
| 广东粤电集团云浮电厂现有4台发电机组,其中1、2#机组装机容量为125MW,3、4#机组装机容量为135MW。改造前1、2#炉送风机采用挡板调节,风道压流损失严重,为了节能降耗、提高机组调节性能,我厂经多方考察认证,我们决定采用运行成熟、技术先进的变频调速方式进行改造。变频装置安装方便,只需在原断路器与电机之间串联变频装置即可,无需对负载和电机做任何改动。首先对1#机组两台送风机进行试验改造。2006年10月份,在#1炉甲、乙侧送风机上安装了两台HARSVERT-A06/130型高压变频器。通过变频调速,实现了电机转速连续无级调速,调速范围宽,调节精度高,效率高,实现了电机的软启动,减少了启动冲击及设备磨损。正常运行后,可靠性高,基本上无维护量。通过对引风机进行变频改造而达到节能增效的目的。 1.HARSVERT-A06/130型高压变频装置原理 (1)高压变频器原理简介 HARSVERT-A06/130型变频装置采用多电平串联技术,6kV系统结构如图1,由移相变压器、功率单元和控制器组成。系统采用7+1冗余结构,当有1级模块旁路时,系统仍能输出额定电压满负荷运行。6kV系列有24个功率单元,每8个功率单元串联构成一相。 图1:高压变频调速系统结构图 每个功率单元结构上完全一致,可以互换,其电路结构如图2,为基本的交-直-交单相逆变电路,整流侧为二极管三相全桥,通过对IGBT逆变桥进行正弦PWM控制,可得到如图3所示的波形。 图2:功率单元电路结构 图3:单元输出的PWM波形 输入侧由移相变压器给每个单元供电,移相变压器的副边绕组分为三组,构成48脉冲整流方式;这种多级移相叠加的整流方式可以大大改善网侧的电流波形,使负载下的网侧功率因数接近1。 另外,由于变压器副边绕组的独立性,使每个功率单元的主回路相对独立,类似常规低压变频器。 输出侧由每个单元的U、V输出端子相互串接而成星型接法给电机供电,通过对每个单元的PWM波形进行重组,可得到如图4所示的阶梯PWM波形。这种波形正弦度好,dv/dt小,可减少对电缆和电机的绝缘损坏,无须输出滤波器就可以使输出电缆长度很长,电机不需要降额使用,可直接用于旧设备的改造;同时,电机的谐波损耗大大减少,消除了由此引起的机械振动,减小了轴承和叶片的机械应力。 当某一个单元出现故障时,通过使图2中的软开关节点K导通,可将此单元旁路出系统而不影响其他单元的运行,高压变频器可持续降额运行;如此可减少很多场合下停机造成的损失。避免了由于一个大功率高压开关器件的故障而导致的整机故障。保证了多电平变频器的可靠性。 图4:变频器输出的相电压阶梯PWM波形 (2)该产品部分功能介绍 ①N+1单元冗余系统。所有功率单元正常时,电压调制系数比正常的标准设备略低,当有单元出现故障旁路时,则自动提升调制系数,旁路一级时仍能够满电压输出。 ②单模块旁路技术。每相8个模块串联,当一个功率模块故障旁路时,与之对应的同级模块仍继续工作,通过中心点偏移技术使输出电压平衡,电压输出能力为95.6%,比同级旁路时输出电压大大提高。 ③掉电3秒不停机功能。在高压变频器高压失电3秒内,高压变频器自动减速继续运行,3秒内恢复高压变频器从最后运行频率开始恢复运行,3秒内高压未恢复变频器停机,20秒内高压恢复变频器自动执行飞车启动。 ④低电压延时保护功能。电网电压波动在+15~-35%U0之间,高压变频器能够实施有效的低电压延时保护功能,保证系统的可靠性。 ⑤高压掉电恢复自动重启功能:为避免电网短时失电对企业生产造成影响,HARSVERT-A高压变频器具备来电自启动功能。当电网电压消失后,高压变频器紧急停机,如果在20秒内电源恢复(时间可设置),高压变频器会进行自动启动,恢复停机前的运行状态。 ⑥任意转速旋转启动。为了适应国内电网波动大,现场主动力电源母线段切换的要求,系统提供旋转中再启动功能。从而在电网电压波动超过+15~-35%U0情况下,系统能够提供有效过、欠压保护;在电网恢复正常后,自动搜索跟踪电动机转速按照设定曲线恢复正常运行状态,保证机组安全运行不跳闸。在现场主动力电源母线段切换过程中,系统自动识别网侧电压变化,系统保护不停机;待电网电压恢复后,自动启动设备运行至给定频率值,满足现场对设备的高可靠性要求。为了满足不同现场对旋转中再启动功能的需求,系统提供完备的参数设定功能,保证系统动作有效,保护得当。真正适应现场运行工况要求。 2.变频改造方案简介 #1炉送风机是两台双侧布置,高压变频改造前送风机的风量调节由人工调节挡板来实现。送风机及其电机参数如下: 电动机参数 型号:Y500-4-6 额定电流:118.8A 额定功率:1000kW 额定频率:50Hz 额定电压:6kV 额定转速:990r/min 为了充分保证系统的可靠性,高压变频器同时加装工频旁路装置,当高压变频器异常时,停止运行,电机可以直接手动切换到工频下运行。工频旁路由3个高压隔离开关QS1、QS2和QS3组成(如图5,QF为我厂原有高压开关)。其中QS2、QS3为双投隔离开关的两组刀,在机械上实现互锁。变频运行时,QS1和QS2闭合,QS3断开;工频运行时,QS3闭合,QS1和QS2断开。 为了实现高压变频器故障的保护,高压变频器对6kV开关QF进行联锁,一旦高压变频器故障,高压变频器跳开QF开关。工频旁路时,高压变频器应允许QF开关合闸,撤消对QF开关的跳闸信号,使电机能正常通过QF开关合闸工频启动。 高压变频调速系统内置西门子S7-200PLC,与现场DCS接口灵活方便。正常运行时,启动、停机操作,频率调整由DCS控制,同时高压变频器状态实时反馈给DCS系统。 3.高压变频器运行节能效果测试情况: (1)高压变频器参数 型号 HARSVERT-A06/130 输入电压 6kV 额定电流 130A 额定功率 1000kW (2)电机参数 额定功率 1000kW 额定电压 6kV 额定转速 990rpn 额定电流 118.8A (3)节能计算 通过流体力学的基本定律可知:风机、泵类设备均属平方转矩负载,其转速n与流量Q,压力H以及轴功率P具有如下关系:Q∝n ,H∝n2,P∝n3;即,流量与转速成正比,压力与转速的平方成正比,轴功率与转速的立方成正比。即当电机转速降为额定转速的80%时,调速系统(高压变频器+电机)从电网侧吸收功率约降为额定转速时的51%,因此,若工艺要求系统风量下降即送风机转速下降时,节能效果十分明显。 在相同运行方式及相同工况下进行测试,数据如下: 高压变频器投运前后电机实际电流的变化 机组负荷 变频前 变频后 节电率 125MW 70A 48A 25% 100MW 55A 29A 40% 比较高压变频器改造前后,送风机电机实际消耗功率,在机组125MW负荷时,计算节电约为25%,当机组负荷为100MW,计算节电率约为40%。经统计投运前、后两个月送风机单耗,节电率为27.7%,按现行上网电价,18个月可收回全部投资。 4.空水冷却器简介 考虑广东地区夏天气温较高,利德华福为高压变频器配备了空水冷却器,保证设备安全运行。 空水冷却器外形如图6所示。从高压变频器出来的热风,经过风管连接到内有固定水冷管的散热器中,散热器中通过温度低于33℃的凉水,热风经过散热片后,将热量传递给冷水,变成冷风从散热片吹出,热量被循环冷却水带走,保证高压变频器室内的环境温度不高于40℃。 图6:空水冷却器外形图 现场一台高压变频器配置两台空冷器(如图7),单台故障时不会对系统产生较大影响。从实际应用情况看,室内温度能控制在30℃左右,效果明显。 经综合计算比较,空水冷却方式的费用约为空调冷却方式的50%。 图7:空冷器与变频器布局图 5.结束语 高压变频装置由于其节能效果明显,特别是在低负荷时更为显著,采用变频调速后,实现了电机的软启动,延长电机的寿命,送风机挡板全开,消除了入口风道原有的喘振,也减少了风道的磨损。良好的节能效果和调节性能,具有广阔的推广应用前景。 本厂两台设备自投运以来,运行非常可靠,未出现任何故障。完全可以说,本次我厂送风机高压变频改造项目是成功的。 |
