INFI-90系统在煤磨生产控制的应用
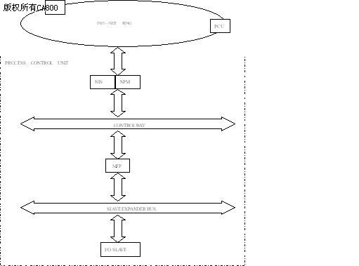
我厂应用的INFI-90集散控制系统是美国Bailey公司生产的,具有可靠性高,系统结构合理,易于程序的开发,等诸多优点。该系统由三大部分组成:操作员接口站(OIS)和工程师工作站(EWS);通讯网络和计算机接口单元(ICI);过程控制单元(PCU)。其通讯网络结构为分层网络:包括由环状结构构成的中心环,子环,工厂环等,由总线结构构成的控制通道,子总线,现场总线等,如图1所示。INFI-90系统的控制结构由完整的硬件设备及丰富的过程控制软件构成,过程控制单元主要由通讯模件(NPM,NIS)多功能处理模件(MFP)用于数字量,模拟量或控制的I/O模件和双层结构的控制总线组成。 一个PCU可挂接32个MFP模件, 一个MFP可带64个模件。各I/O模件都采用单点输入,输出,各通道相互独立。通过功能码进行软件组态。可实现各种反馈控制,顺序控制,批量控制等。控制流程如图2所示。 全厂集散控制系统由9个节点: 即2个操作员接口站,5个过程控制单元,1个工程师工作站与1个计算机接口单元和冗余的通讯环路组成。5个PCU站分别控制生料系统,窑尾系统,窑头系统,煤磨系统,水泥磨系统。 下面就以煤磨自动控制系统为例,阐述INFI-90系统在生产控制中的设计应用。 1 煤粉制备系统的构成及磨负荷检测 煤粉制备系统是一个闭环系统,其工作过程是原煤仓中的原煤经变频调速圆盘给料机进入磨机进行研磨,研磨后的煤粉由窑头一次风机产生的负压风带入粗细粉分离器,粗细粉分离器将煤粉按粒径大小进行分离,粗颗粒返回煤磨继续进行研磨,合格的细粉经分格轮进入煤粉仓,最后经煤双管喂料机以及窑头一次风机进窑燃烧。
图1 infi-90 通讯层次示意图
由于煤磨单独放置于厂房内, 环境噪声干扰较小,所以用探测声强方式的磨机负荷检测仪检测到的声强信号能直观反映出煤磨内部的负荷状况。磨机负荷检测仪的信号输出值与磨内物料的多少呈反比关系,磨机正常运行时,磨负荷检测值在一个较小的范围内波动。 基于上述检测原理,将磨负荷作为主控参数。圆盘给料量作为调节量,可有效控制煤磨的工作状况。 我公司使用的INFI-90集散控制系统具有良好的硬件接口特性,在煤粉制备自动控制过程中,将磨机的声强信号由磨机负荷检测仪变换为标准DC4-20mA信号,经INFI-90控制系统的IMFBS01模拟量输入子模件进行输入和处理,经过煤磨负荷自动控制程序的运算,将圆盘给料机转速调节信号经IMASO01模拟量输出子模件进行处理并输出,调节圆盘给料机控制变频器,达到调节圆盘转速,控制煤磨负荷的目的。同时,对调速圆盘给料机,磨机,一次风机,分格轮,煤双管喂料机, 稀油站油泵等设备的备妥信号经IMDSI02数字量输入子模件进行输入和处理。在信号正确的情况下经过控制程序逻辑运算,经IMDSO04数字量输出子模件进行处理并输出, 使设备启动。同时将该设备的运行信号经IMDSI02子模件进行输入,实现对煤粉制备系统设备进行监控的目的。 2.控制软件组态 2.1 磨机负荷自动控制 通过对煤磨系统的动态分析,得出传递函数,将其系数与PID功能码的参数进行配置,便可实现磨机负荷与入磨量之间PID的调节。 为了克服外界电磁,噪声等对磨机负荷检测值的尖峰干扰,除在硬件上做处理外,在软件上采用滞后和移动平均功能块进行处理。
1) 滞后功能块的逻辑关系式为: OUTn=OUTn-1+(INn-OUTn-1)*Tz/(T1+Tz) OUTn-1---当前输出值; OUTn---前一采样输出值; INn---当前信号输入值; Tz---采样周期; T1---用户确定的滞后时间; 滞后功能块相当于低通滤波器,通过对磨机负荷检测值的滞后处理,且选择合适的滞后时间,即可以使检测值变得平滑,又可保证检测值及时到达控制回路进行运算。 2) 移动平均功能块的逻辑关系式为: OUTn=(Inn+Inn-1+……+INn-m+1)/m INn-1---前一采样周期信号输入值; INn-m+1---前m-1采样周期信号输入值; m---用户确定的采样周期数。 该模块就是控制的需要适当选择几个采样周期的检测值进行平均处理,并按照任务周期及时间进行不断的顺序计算。通过该功能块的计算,可使一定周期内磨机负荷检测值的小幅波动归于一条近似的直线。 将检测信号在软件上进行滞后和移动平均处理后,使进入控制回路的信号更加平滑,外界干扰基本消除,保证了控制的准确稳定性。 2.2煤磨系统设备顺序起动及联锁控制 系统设备启动分为两组: 第一组为润滑油稀油站油泵电动机启动,在发出启动命令后,首先启动一号油泵,若3s后一号油泵未运行则启动二号油泵,两台泵能互相联锁及自动切换,且只能有一台泵运行,当一台故障跳闸时,操作台发出报警信号,同时立即启动另一台泵,不影响磨机运转。 第二组为其他设备电动机启动,在发出启动命令后,按照工艺顺序分别启动圆盘喂料机,细粉下料器,粗粉回粉下料器,磨机启动间隔为5S,停车时先停喂料盘,30S后停磨机,再过5S停粗粉下料器,1200S后停细粉下料器。 系统设备联锁关系: 两台油泵运行信号互为联锁,磨机运行信号联锁圆盘喂料机。圆盘喂料机运行信号联锁细粉下料器及粗粉回粉下料器。磨机运行信号,煤粉仓料量高报信号联锁圆盘喂料机下料量,油泵运行信号油泵与磨机启动信号联锁,圆盘喂料机,细粉下料器及粗粉回粉下料器,油泵运行信号,窑头一次风机运行信号,磨机电流高报警,磨机瓦温高报警等信号与磨机运行信号联锁。 INFI-90系统有丰富的软件包,为用户提供了实现各种功能的功能码,通过对其进行合理的组态,以实现控制功能。在系统中只需对多状态设备驱动器,计时器,顺序控制器,远程控制器等系统提供的诸多功能强大的功能码进行合理组态,就可以简单方便而可靠的控制生产过程。 |

