利德华福高压变频器应用在大连热电厂中
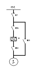
| 大连开发区热电厂是目前大连开发区唯一的以供热为主,热电联产的燃煤电厂。目前总装机容量为14.4万kW、两台6万kW和两台1.2万kW机组,两台75t/h,一台130t/h,三台220t/h锅炉。2000年,大连开发区热电厂重组,成为国电电力发展股份有限公司下属的全资发电、供热企业。 近年来,随着电、煤价格逐步上涨,我厂发电成本逐年增加,为降低厂用电率,我们通过多方调研,决定对厂内的高压电机进行调速节能改造,以提高企业的市场竞争能力。 我厂二期三台220t/h锅炉,配备四台高压给水泵。四台水泵入口侧的取水均取自除氧器出口的公用母管,给水泵出口侧均汇入同一母管,锅炉的给水量靠水位调节门进行控制,如果给水量偏差大的时候,就需要开给水再循环门,部分水量再回到除氧器,形成了自循环,浪费了大量的水资源和电力资源,有较大的节能潜力。 1、主回路方案 变频控制为一拖一方案,配备一台变频器。变频调速系统接于6kV电压等级的主动力电源系统,用于电动机的变频调速。为增加运行安全性,变频系统增加旁路,设计方案如下: 此方案是手动旁路的典型方案,原理是由3个高压隔离开关QS1、QS2和QS3组成(见左图)。要求QS2和QS3不能同时闭合,在机械上实现互锁。变频运行时,QS1和QS2闭合,QS3断开;工频运行时,QS3闭合,QS1和QS2断开。 为了实现变频器故障保护,变频器对现场高压断路器QF进行连锁,一旦变频器故障,变频器跳开QF。电机工频运行时,变频器允许QF合闸,撤消对QF的跳闸信号,使电机能正常通过QF合闸工频启动。 2、锅炉给水泵和电机的参数 3、 变频器的选型 4、根据现场运行经验 锅炉给水泵电机的最大工作电流不超过150A,据此选用变频器的型号为HARSVERT-A06/170,变频器额定输出电流为170A,完全满足现场负载运行的要求。 热网循环泵电机配套变频器选用型号为HARSVERT-A06/050,变频器额定电流为50A,同电机额定容量匹配,满足用户要求。 5、给水泵变频器的现场控制实现 给水泵变频调速系统采用外接4-20mA电流源来控制变频器的输出频率,该电流源信号来自于一块Anthone牌LU-900M智能调节仪。该控制仪表接入4-20mA管道压力信号,仪表带有PI控制器,可以通过控制仪表盘调节设定值,同时该仪表还可以对闭环控制和开环控制进行无扰切换。系统图如下: 6、节能效果 锅炉给水泵改造前电机电流约为120-130A,改造后电机电流变为:90—110 A。 热网循环泵改造前后,循环泵流量基本相同,改造前电机电流约为55A左右,改造后电流约为45A。 7、应用高压变频调速系统产生的其他效果 (1)、改善了工艺。在实际生产操作过程中,泵的参数(尤其是流量)需时常调整,不仅需要节参数,而且备用设备需时常切换。根据工艺的变动,工艺参数又主要通过调节出口门来控制,人工关小或开大阀门不仅费事,速度慢,也缩短阀门的寿命(填料及阀杆的磨损)。采用变频调速就不用调节出口阀,只需在控制室内调节电机的转速即可。变频启动转速可以从零开始逐渐升高,因此,带负荷直接启动不会有较大的启动电流,避免了通常泵组首先关闭出口阀后再启动的要求(无载启动是为了降低启动电流,保护电机)。 (2)、工作强度降低。由于调速系统在运转设备与备用设备之间实现联锁控制,机组实现自动运行和相应的保护及故障报警,操作工作由手动转变为监控,完全实现生产的无人操作,大大降低了劳动强度,提高了生产效率,为优化运营提供了可靠保证。 (3)、维护量减少。采用变频调速后,可以避免因通过阀门控制使泵过多偏离额定工作区而引起的振动。通常情况下,变频调速系统的应用主要是为了降低泵的转速,由于启动缓慢及转速的降低,相应地延长了许多零部件,特别是密封、轴承的寿命。 (4)、减少了对电网的冲击。给水泵工频起动时,启动电流达到额定电流的6—7倍,由于厂用电源串有电抗器供电,造成电抗器压降过大,使厂用电系统母线电压降低,对接于该母线上的负荷都会造成波动。采用变频调节后,系统实现软启动,电机启动电流只是额定电流,启动时间相应延长,对电网无大的冲击,同时减轻了起动机械转矩对电机机械损伤,有效的延长了电机的使用寿命。 8、小结 我公司使用利德华福生产的高压变频器以来,设备一直稳定运行,显著改善了机组的运行情况,降低了运行人员的工作强度,使厂用电率有明显地降低。2006年,为进一步降低厂用电率,我们又向利德华福续购了4台高压变频器用于锅炉风机的调速改造。相信今后越来越多的高压变频器会应用于热电企业,为创建节约型社会添力。 |
